[閒聊] 索尼新專利 玩家太菜卡關AI代操救援
索尼新專利「幽靈助手」曝出 玩家太菜卡關AI代操神救援
記者黃冠瑋/綜合報導
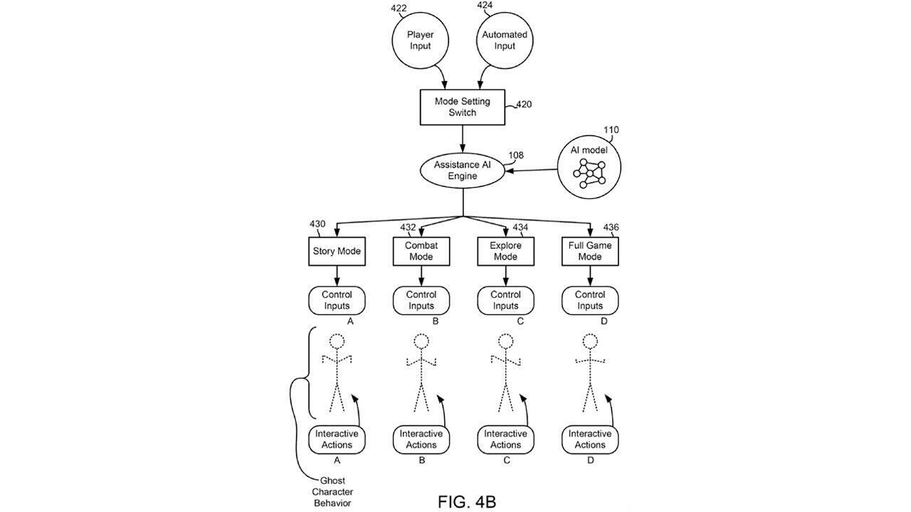
索尼近期又提交了一份專利研發內容報告,其中將會加入一個名為「幽靈助手」的協助功
能,該項系統將會在玩家遇到困難時,讓幽靈助手就此接管遊戲操作。對此,索尼也強調
該項系統隨時都能開啟,除了能引導玩家推進遊戲進度,也能直接讓該系統AI取得遊戲的
控制權替玩家代打。
https://cdn2.ettoday.net/images/8569/e8569746.jpg

根據外媒報導,該項專利最早是出現在2024年9月提交的專利文件當中,該「幽靈助手」
系統能針對玩家卡關的部分進行自動遊玩,並自動協助完成任務。其中索尼就表示,這套
AI系統代理程式是透過利用「大量玩家的遊戲畫面」以及其他各種上傳至網路資源的遊戲
影片進行訓練,藉此讓該系統學會如何處理各類遊戲場景,一旦該系統能實現,這意味著
困擾著玩家高難關卡,將不再是一大難題。
另外,其實索尼在過去幾年中,就持續開發多項功能,都試圖降低玩家上手遊戲難度,像
是PS5上市時,就推出過「遊戲幫助」系統,透過PS5的分頁卡片即時提供短片或是圖片提
示,以方便玩家在遊玩過程中隨時調取,觀看問題並找到提升技巧的訣竅。雖說某些開發
者仍未使用這項系統到自己開發遊戲當中,但對於那些已經使用的人來說,無疑是一項非
常實用的功能。
不過索尼所推出的遊戲輔助功能,也有出現不少反彈聲音,像是在《戰神:諸神黃昏》和
《地平線 西域禁地》,就曾因為主角自言自語或身旁的NPC不斷提供解謎建議而遭到玩家
批評,當時許多玩家都認為過多輔助反而是破壞了整個遊戲體驗。至於此次「幽靈助手」
概念也不是第一次出現,微軟也曾在去年發表了一個由AI驅動的助手「Gaming Copilot」
,功能也類似於提供遊戲支援建議。
https://cdn2.ettoday.net/images/8569/e8569763.jpg

原文
https://game.ettoday.net/article/3096892.htm#ettoday
#寵粉
#索又贏
-----
Sent from MeowPtt on my iPhone
--
※ 發信站: 批踢踢實業坊(ptt.cc), 來自: 223.140.136.159 (臺灣)
※ 文章網址: https://www.ptt.cc/bbs/C_Chat/M.1768060512.A.D7D.html
推
01/11 00:16,
2月前
, 1F
01/11 00:16, 1F
→
01/11 00:35,
2月前
, 2F
01/11 00:35, 2F
推
01/11 00:38,
2月前
, 3F
01/11 00:38, 3F
推
01/11 01:18,
2月前
, 4F
01/11 01:18, 4F
推
01/11 03:11,
2月前
, 5F
01/11 03:11, 5F
→
01/11 07:34,
2月前
, 6F
01/11 07:34, 6F
→
01/11 07:34,
2月前
, 7F
01/11 07:34, 7F
→
01/11 08:55,
2月前
, 8F
01/11 08:55, 8F
噓
01/11 09:28,
2月前
, 9F
01/11 09:28, 9F
→
01/11 09:28,
2月前
, 10F
01/11 09:28, 10F
C_Chat 近期熱門文章
PTT動漫區 即時熱門文章